KJT-LK-III型扫帚式料流检测器
- 产品系列:KJT-LK-III型
- 负载电流:AC380V 5A,DC24V 5A
- 触点方式:常开1.常团1;常开2. 常闭2.(订货时请注明)
- 复位方式:自动
- 电器寿命:>10万次
- 防护等级:IP65/IP67
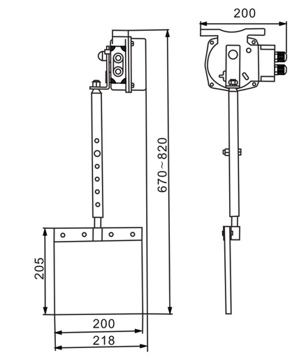
凯基特KJT-LK-III型扫帚式料流检测器用于对胶带运输机输送物料的检测,可发出有载运行信号。如与洒水装置连接,可实现对物流的自动洒水功能。本装置也可适用于双向运行的胶带机。
该检测器采用下垂触板与物料接触的接触检测方式,当胶带运送物流时,物流推动触板并带摆壁向一侧偏移,若偏移角度大于20°时内部开关动作,输出一组开关信号。

| 环境温度 | -30℃~+50℃ |
| 相对湿度 | 不小于85% |
| 动作角度 | 双向20° |
| 极限角度 | 75° |
| 动作力 | 70-100N |
| 触点数量 | 1个常开,1个常闭(可根据需要增加2组常开;2组常闭 |
| 触点容量 | AC380V/5A |
| 复位方式 | 自动 |
| 可靠性 | >10万次 |
| 防护等级 | IP65/IP67 |
| 重量 | 4Kg |







